富山県ã®å¢“石図é¢ã‚’é€ã£ã¦æ¥ã‚‰ã‚Œã¾ã—ãŸã€‚ã“ã®å›³é¢ã¯ï½žãƒ»ãƒ»ãƒ»ï¼Ÿ
富山県ã®ãŠå®¢æ§˜ã‹ã‚‰ã€å›³é¢ãŒé€ã‚‰ã‚Œã¦æ¥ã¾ã—ãŸã€‚
数社ã§è¦‹ç©ã‚‚りをå–ã‚‰ã‚ŒãŸæ§˜ã§ã™ã€‚
ãŠè©±ã—を伺ã£ãŸæ„Ÿè§¦ã§ã¯ã€çŸ³æåº—ã”ã¨ã«èª¬æ˜ŽãŒå…¨ãé•ã„ã¾ã™ã®ã§ã€å¥‘ç´„ã‚’ã—ã¦ã—ã¾ã£ãŸãŒå¿ƒé…ã§ä»•æ–¹ãŒç„¡ã„ï¼ãれã§ç§ã®HPã‹ã‚‰ã€ç„¡æ–™ç›¸è«‡ã•れãŸã®ã§ã—ょã†ã‹ï¼Ÿ
「図é¢ã‚’æ‹è¦‹ã™ã‚‹ã¨ã€éƒ¨æå›³ã¾ã§ã‚りã¾ã™ãŒã€ã©ã¡ã‚‰ã‹ã®çŸ³æåº—ã•ã‚“ã¨ãŠè©±ãŒé€²ã‚“ã§ã€ã”契約ãªã®ã§ã¯ãªã„ã§ã™ã‹ï¼Ÿã‚‚ã—ãã†ãªã‚‰ã€ç§ãŒãŠç”ãˆã—ãªã„æ–¹ãŒè‰¯ã„ã¨æ€ã„ã¾ã™ãŒï¼Ÿã€ã¨ãŠå°‹ãã‚’ã—ã¾ã—ãŸãŒã€ã©ã†ã—ã¦ã‚‚図é¢ã¨é‡‘é¡ãŒå¦¥å½“ãªã®ã‹ã‚’èžã‹ã›ã¦æ¬²ã—ã„ã¨ãŠã£ã—ゃã„ã¾ã™ã€‚
ä»–ã®çŸ³æåº—ã¨ã”契約ã•ã‚ŒãŸæ–¹ã®ã”質å•ã«ãŠç”ãˆã™ã‚‹ã®ã¯æ£ç›´ç–²ã‚Œã¾ã™ã€‚
対応ã—ãªã„ã¨èª æ„ãŒç„¡ã„ã¨æƒ³ã‚れãã†ã§ã€ã ã‹ã‚‰ã¨è¨€ã£ã¦ä½•処ã¾ã§ãŠç”ãˆã—ã¦è‰¯ã„ã‚‚ã®ã‹æ‚©ã¿ã¾ã™ã€‚
仕方ãªã「å–り敢ãˆãšå›³é¢ã®ãŠè©±ã—ã ã‘ã§ã„ã„ã§ã™ã‹ï¼Ÿã€ã¨å‰ç½®ãã‚’ã—ã¦ã€ãŠç”ãˆã„ãŸã—ã¾ã—ãŸã€‚
ãŠè©±ã—ã®å†…容をã€ã‹ã„ã¤ã¾ã‚“ã§ã”説明ã—ã¾ã™ã€‚
ã“ã®ä½œã‚Šæ–¹ã¯ç§ã®ä¼šç¤¾ã§ã¯ã—ã¦ã„ã¾ã›ã‚“ï¼
出æ¥ä¸ŠãŒã‚Šã®ãƒ‡ã‚¶ã‚¤ãƒ³ã‚„大ãã•ã¯ã€åŒã˜æ§˜ã«è¦‹ãˆã‚‹ã®ã§ã™ãŒã€ã“ã®å›³é¢ã§ã¯ã€ç§ã®è€ƒãˆã‚‹å¼·åº¦ãŒä¿ã¦ãªã„ã‹ã‚‰ã§ã™ã€‚

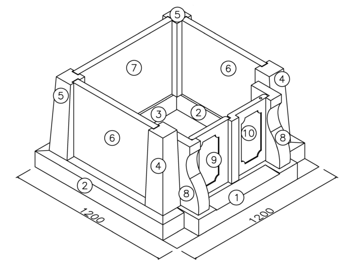
å››æœ¬ã®æŸ±ã§æ”¯ãˆã¦ã€çŸ³æ¿ã‚’é–“ã«æŒŸã‚€ã“ã¨ã§ã€å¯Œå±±ã®ãŠå¢“ã§å”戸ã¨å‘¼ã°ã‚Œã‚‹éƒ¨åˆ†ãŒã¤ãられã¦ã„ã¾ã™ã€‚
ã“ã®éƒ¨åˆ†ãŒç´éª¨å®¤(ã‚«ãƒãƒ¼ãƒˆ)ã«ãªã‚‹è¨³ã§ã™ãŒã€ã“ã®ä¸Šã«é‡ã„天æ¿(ç¬ æ¿)や墓石ãŒä¹—る訳ã§ã™ã€‚
ã“ã®å›³é¢ã®åŽšã¿ã ã¨ã‚¢ãƒ³ã‚«ãƒ¼ã‚’打ã¡è¾¼ã‚“ã§ã€ã‚¹ãƒ†ãƒ³ãƒ¬ã‚¹ã®é‡‘å…·ã§å›ºå®šã™ã‚‹ã“ã¨ã¯å‡ºæ¥ã¾ã›ã‚“ã‹ã‚‰ã€ã“ã®å ´åˆã¯ãƒœãƒ³ãƒ‰ã ã‘ã®æ–½å·¥ã«ãªã‚Šã¾ã™ã€‚
ç§ã®ä¼šç¤¾ã®æ¨™æº–ã§ã¯ã€æŸ±ã§ã¯ç„¡ãアンカーを打ã¡è¾¼ã‚€ã“ã¨ãŒå‡ºæ¥ã‚‹åŽšã•ã®å£ã§å¢“石を支ãˆã¾ã™ã€‚

å°ã•ã‚ã®å¢“石ã§ã™ãŒã€å¿…ãšé‡‘å…·ã§æ¢ã‚ã¾ã™ã€‚

ãƒ‡ã‚¶ã‚¤ãƒ³çš„ã«æŸ±ãŒæ¬²ã—ã„å ´åˆã¯ã€å£ã®åŽšã•を変ãˆãªã„ã§ã€æŸ±ãŒæœ‰ã‚‹ã‚ˆã†ã«ã¤ãりã¾ã™ã€‚

広ãã¦å¤§ããªå¢“石ã®å ´åˆã¯ã€èˆžå°ãŒæªã¾ãªã„よã†ã«ã€åŽšã„石æ¿ã§å†…部を補強ã—ã¾ã™ã€‚
ã‚‚ã¡ã‚ã‚“é‡‘å…·ã§æ¢ã‚ã¦ã€æ›´ã«ç©ºé–“を埋ã‚ã‚‹ã“ã¨ã§ã€å¼·åº¦ã‚’å¼·ãã—ã¦ã„ã¾ã™ã€‚

大ããã¦èƒŒã®é«˜ã„富山県ã®å¢“石ã¯ã€åŒè²«ãã¨ã„ã†ä¸€ã¤ã®çŸ³ã‚’ãり抜ã„ã¦åŠ å·¥ã‚’ã•れã¦ã„ã¾ã™ã€‚
ã“れã¯ç¢ºã‹ã«å¼·ã„ã§ã™ãŒã€ãり抜ã„ãŸéƒ¨åˆ†ã‚‚石æä½¿ç”¨é‡ã«å«ã¾ã‚Œã¾ã™ã€‚
高é¡ã«ãªã‚Šã¾ã™ãŒã€é‡‘å…·ã§å›ºå®šã™ã‚‹ã‚ˆã‚Šã‚‚強度ã¯å¼·ã„ã§ã™ã€‚
ã“れ以上ã«ãªã‚‹ã¨ã€ä¸€ã¤ã®ãƒ–ãƒãƒƒã‚¯ã‹ã‚‰ã€å½«åˆ»å“ã®æ§˜ã«å¢“石を削ã£ã¦ã¤ãる方法ã—ã‹ãªã„ã§ã™ã€‚
ケースãƒã‚¤ã‚±ãƒ¼ã‚¹ã§ã€ãŠå®¢æ§˜ã®ã”è¦æœ›ã¨ã”予算ã«åˆã‚ã›ã¦ãŠã¤ãりã—ã¦ã„ã¾ã™ãŒã€æµçŸ³ã«ãƒœãƒ³ãƒ‰æ–½å·¥ã®ã¿ã®æ–½å·¥ã¯ã—ã¦ã„ãªã„事をãŠç”ãˆã—ã¾ã—ãŸã€‚
ã”説明をã—ãŸå¾Œã«ã€ãŠå®¢æ§˜ã‹ã‚‰ã€Œä»–ã®çŸ³æåº—ã‹ã‚‰ã€éœ‡ç½ã®æ™‚ã«é‡‘å…·ãªã©ã¯æŠœã‘ã¦ã—ã¾ã£ã¦å…¨ã効果ãŒç„¡ã„ã®ã§ã€é«˜ããªã‚‹ã ã‘ã§æ„味ãŒãªã„ã¨èª¬æ˜Žã•れã¾ã—ãŸã€ã¨è¨€ã‚れã¾ã™ã€‚
よãã‚ã‚‹ã”質å•ãªã®ã§ã™ãŒã€ä»–ã®çŸ³æåº—ã®è©±ã‚’èžã‹ã‚ŒãŸãŠå®¢æ§˜ã«ã”説明ã™ã‚‹ã®ã¯ã€å¤§å¤‰éª¨ãŒæŠ˜ã‚Œã¾ã™ã€‚
ã¾ãšã”説明ã—ãŸã®ã¯ã€éœ‡åº¦6以上ã®éœ‡ç½ã®å ´åˆã€ç¸¦æºã‚ŒãŒå…¥ã£ã¦ããŸã‚‰ã€è€éœ‡ã‚‚å…æŒ¯ã‚‚ã©ã‚“ãªæ–½å·¥ã‚’ã—ã¦ã‚‚ç„¡é§„ã§ã™ã€‚
阪神淡路大震ç½ã®æ§˜ã«ã€70センãƒä»¥ä¸Šã®ç¸¦æºã‚ŒãŒèµ·ã“ã£ãŸã‚‰ã€è€éœ‡æ£’ã‚‚å½¹ã«ãŸã¡ã¾ã›ã‚“ï¼æ´¥æ³¢ãŒæ¥ãŸã‚‰å…¨ã¦ãŒæµã•れã¦ã—ã¾ã„ã¾ã™ã‹ã‚‰ã€éœ‡ç½ã®æ§˜ãªåœ°éœ‡ã®å ´åˆã¯ç„¡æ„味ã§ã™ã€‚
ã„ã¤èµ·ã“ã‚‹ã‹åˆ†ã‹ã‚‰ãªã„震ç½ã«é–¢ã—ã¦ã¯ã€ãã®çŸ³æåº—ã•ã‚“ã®èª¬æ˜Žã¯æ£ã—ã„ã‹ã‚‚ã—れã¾ã›ã‚“ï¼
ç§ã®ä¼šç¤¾ã¯ã€ã‚¹ãƒ†ãƒ³ãƒ¬ã‚¹ã®é‡‘具を使用ã—ã¦ã„ã¾ã™ã€‚
ç†ç”±ã¯ã€ãƒœãƒ³ãƒ‰ãŒ10å¹´ä½ã‹ã‚‰åŠ£åŒ–ãŒç›®ç«‹ã£ã¦ãã¦ã€è€ç”¨å¹´æ•°ãŒ15å¹´ã¨ã‚‚20å¹´ã¨ã‚‚分ã‹ã‚‰ãªã„ã‹ã‚‰ãªã®ã§ã™ã€‚
ã„ã¤æ¥ã‚‹ã‹åˆ†ã‹ã‚‰ãªã„震ç½ã«å‚™ãˆã‚‹ãŸã‚ã«ã€è²»ç”¨ã®ã”è² æ‹…ã‚’ãŠé¡˜ã„ã™ã‚‹ã“ã¨ã¯ã—ãŸãã‚りã¾ã›ã‚“ãŒã€å¿…ãšè¨ªã‚Œã‚‹15å¹´20å¹´å…ˆã®ç‚ºã«ã€ãƒœãƒ«ãƒˆã¨é‡‘å…·ã€æ¿çŸ³ã®åŽšã¿ã§è£œå¼·ã—ãŸã„ã‹ã‚‰ã§ã™ã€‚
ãŠå®¢æ§˜ã¯ã€ã‚‚ã£ã¨é•·ã„期間をãŠè€ƒãˆã ã¨æ€ã†ã‹ã‚‰ã§ã™ã€‚
大ãã‚ã®é‡‘å…·ã§ã‚‚ã€1箇所2åƒå††ã§4箇所ãªã‚‰8åƒå††ã®ã”è² æ‹…ã«ãªã‚Šã€çŸ³æ¿ã‚’厚ãã—ã¦çŸ³æä½¿ç”¨é‡ã‚‚増ãˆã¾ã™ãŒã€ä¸å›½æãªã‚‰é‡‘å…·ã¨åˆã‚ã›ã¦ã€3~4万円ãらã„ã®ã”è² æ‹…ã«ãªã‚Šã¾ã™ã€‚
ã“ã®é‡‘é¡ã‚’高ã„ã¨è€ƒãˆã‚‰ã‚Œã‚‹ã‹å®‰ã„ã¨è€ƒãˆã‚‰ã‚Œã‚‹ã‹ã¯ã€ãŠå®¢æ§˜è‡ªèº«ã®åˆ¤æ–ãªã®ã§ã™ã€‚
ãŠè©±ã—ã‚’ã—ã¦è¡Œã‘ã°è¡Œãã»ã©ã€é›»è©±å£ã®å…ƒæ°—ãŒãªããªã£ã¦æ¥ã‚‹ã®ãŒæ„Ÿã˜ã‚‰ã‚Œã¾ã—ãŸã®ã§ã€ã€Œä»ŠãŠè©±ã—ã—ã¦ã„ã‚‹ã®ã¯ã€ç§ã®å¢“石ã¥ãã‚Šã¨æ–½å·¥æ–¹æ³•ã®è€ƒãˆæ–¹ã§ã™ã€‚石æåº—ã”ã¨ã«æ–½å·¥ã®æ–¹æ³•ãŒé•ã„ã¾ã™ã€‚æ‹è¦‹ã—ãŸè¦‹ç©ã‚‚りã§ã¯ã€ãれãªã‚Šã«åˆ©ç›Šã¯ã‚りãã†ãªã®ã§ã€ã”相談ã•れã¦ã¯å¦‚何ã§ã™ã‹ï¼Ÿã€ã¨ã€è‡ªåˆ†ã¯æŽ¡ç”¨ã—ã¦ã„ã¾ã›ã‚“ã®ã§ã€ä½•ã¨ã‚‚言ãˆã¾ã›ã‚“ãŒã€ã“ã‚“ãªæ–½å·¥ã‚’観ãŸã“ã¨ãŒã‚る事ã®ãŠè©±ã—ã‚’ã—ã¾ã—ãŸã€‚
å°‘ã—安心ã•れãŸã®ã§ã—ょã†ã‹ï¼Ÿã‚¢ãƒ¬ã‚³ãƒ¬é›‘談ã—ãªãŒã‚‰ã€ã€Œæœ€åˆã‹ã‚‰ç›¸è«‡ã™ã‚Œã°è‰¯ã‹ã£ãŸã€ã€Œãã†ã§ã™ã‚ˆï¼ç§ãŒä½œã‚ŒãŸã‹ã‚‚ã—れãªã„ã®ã«ï¼(笑)ã€ã€ŒãれãŒé«˜ã„ã£ã¦è¨€ã‚れãŸã‚“ã§ã™ã‚ˆï¼ã€
「ã‚ãã“高ã„ã§ã™ã‚ˆï¼é 隔地ã¾ã§ç¤¾é•·ãŒè¡Œã£ã¦ã„ã‚‹ã®ã§ã™ã‚ˆï¼é«˜ãç„¡ã„ã¯ãšãŒãªã„ã§ã—ょï¼ã€ãªã‚“ã¦å–¶æ¥ã•れã¦ã„るよã†ã§ã™ã€‚
å¹¾ã¤ã‹ã®æ¡ˆä»¶ã‚’ã¾ã¨ã‚ã¦å‹•ã„ã¦ã„ã‚‹ã®ã«ã€å…¨ã余計ãªãŠä¸–話ã§ã™ã€‚
都åˆã®æ‚ªã„事ã¯èª¬æ˜Žã—ãªã„ï¼å‹æ‰‹ã«ä»–社ã®ãŠå¢“ã¥ãりや見ç©ã‚‚りをã€éƒ½åˆã®ã„ã„常è˜ã§é«˜ã„ã¨è¨€ã†ï¼ç§ã®ä¼šç¤¾ã§è¦‹ç©ã‚‚りをå–られるã¨éƒ½åˆãŒæ‚ªã„ã®ã§ã—ょã†ãï¼é 隔地ã®ãŠå®¢æ§˜ã‚‚ã€é«˜ã‘れã°è²·ã„ã¾ã›ã‚“ï¼å®‰ãã¦ã‚‚è³ªãŒæ‚ªã‘れã°è²·ã„ã¾ã›ã‚“ï¼è¦‹ç©ã‚‚り金é¡ãŒã€æ¿€å®‰åº—ã‚„ã‚«ã‚¿ãƒã‚°è²©å£²ã‚ˆã‚Šå®‰ã„ã“ã¨ã‚‚ã‚りã¾ã™ãŒã€ç§ã¯ä½•処ã‹ã§å¿…ãšç«‹ã¡ä¼šã„ã¾ã™ã‚ˆï¼
金é¡ã®å¤§å°ã§ã€ãŠå¢“ã®ä¾¡å€¤ãŒæ±ºã¾ã‚‹ã‚‚ã®ã§ã¯ã‚りã¾ã›ã‚“ã‹ã‚‰ãï¼
ç§é”石æåº—ã®ä»•事ã¯ã€ãŠå¢“ã‚’ã¤ãã‚‹ã“ã¨ã§ã™ã€‚
åŠ å·¥ã‚‚æ–½å·¥ã‚‚ç«‹ã¡ä¼šã£ã¦ä½•ãŒæ‚ªã„ã®ã§ã—ょã†ã€‚
売りã£ã±ãªã—ã§ã€ã€Œã»ã£ãŸã‚‰ã‹ã—ã€ã¯ã€ã‚ªã‚«ã‚·ã‚¯ãƒŠã‚¤ãƒ‡ã‚¹ã‚«ï¼Ÿãã‚“ãªã‚‚ã‚“ï¼åº—売りã§ã‚‚ブãƒãƒ¼ã‚«ãƒ¼ã¨åŒã˜ã§ã™ã€‚
霊園ãªã©ã®ç´éª¨ã®æ‰‹ä¼ã„ã¯åœ°å…ƒã®çŸ³æåº—ã§ãªã„ã¨å—ã‘ã¦ã„ã„ãŸã ã‘ãªã„ã¨ãŠã‚‚ã£ã¦ã„ã¾ã›ã‚“ã‹ï¼Ÿ
申請書類を霊園ã«ç¢ºèªå–ã£ã¦ã”用æ„ã‚’ã—ã¦ã—ã¾ãˆã°ã€å°é‘‘ã¨ã‚µã‚¤ãƒ³ã—ã¦ã€éœŠåœ’ã«æŒã£ã¦è¡Œã‹ã‚Œã‚‹ã ã‘ã§ã™ã€‚
ãれãªã‚‰æ–½ä¸»ã•ã‚“ã§å‡ºæ¥ã¾ã›ã‚“ã‹ï¼Ÿã”自分ã§ç´éª¨å‡ºæ¥ã‚‹æ§‹é€ ã«ã™ã‚Œã°ã€ãŠå®¢æ§˜ã§å‡ºæ¥ã¾ã›ã‚“ã‹ï¼Ÿãれよりも質ã®ã„ã„墓石ãŒã€å®‰ã„æ–¹ãŒè‰¯ã„ã®ã§ã¯ãªã„ã§ã™ã‹ï¼ŸçŸæœŸé–“ã§ä¹¾ãコンクリートã¯å¤§å¤‰é«˜é¡ã§ã™ãŒã€è·äººãŒãƒ¦ãƒ‹ãƒƒã‚¯ã§2度墓所ã«è¡Œãよりも安ã‘れã°ã€ã‚±ãƒ¼ã‚¹ãƒã‚¤ã‚±ãƒ¼ã‚¹ã§è²»ç”¨å¯¾åŠ¹æžœã‚’è€ƒãˆã¦ãŠã¤ãりã™ã‚Œã°ã€ã„ã„墓石も無駄を削ã£ã¦ãŠå€¤æ‰“ã¡ã«ã¤ãれã¾ã™ã€‚
ã‚‚ã¡ã‚ã‚“ã”ä¾é ¼ãŒã‚れã°ã€ç”³è«‹ã‚‚ç´éª¨ã‚‚致ã—ã¾ã™ã€‚(富山県ã§ã‚‚大丈夫ã§ã™ã€‚)
ç§ã¯ã€ä¾¡æ ¼ã®äº‰ã„ã‚’ã¿ã‚“ãªã§ã€Œã‚„ã‚ï¼ã‚„ã‚ï¼ã€ã¨äº‰ã£ã¦ã„る所ã«å‚åŠ ã™ã‚‹ã¤ã‚‚りã¯ã‚りã¾ã›ã‚“ï¼

ç§ã®ã¤ãる墓石ãŒã©ã®ãŠå®¢ã•ã‚“ã«ã‚‚ベストã§ã¯ç„¡ã„ã§ã—ょã†ã€‚
ãŸã ãã®ãŠå®¢ã•ã‚“ã ã‘ã®ãŠå¢“ã‚’æä¾›ã—ãŸã„ã ã‘ã§ã™ã€‚
ã€Œé ¼ã‚“ã§ã‚ˆã‹ã£ãŸï¼ã€ã¨ã€è¨€ã£ã¦ã‚‚らãˆã‚‹æ§˜ãªï¼
è‡ªç„¶ã®æµã¿ã‚’扱ã†ã«ã¯ã€ã¾ã ã¾ã åŠäººå‰ã®çŸ³å±‹ã§ã™ãŒã€è‡†ç—…ã«æ£ç›´ã«ãŠå¢“ã‚’ã¤ãã£ã¦ã„ã¾ã™ã€‚
ãŠæ°—軽ã«ãŠè¦‹ç©ã‚‚りã®ã”ä¾é ¼ã‚„ã”相談をã•れã¦ãã ã•ã„。
明日ã‹ã‚‰é¹¿å…å³¶ã®å»ºã¦ä¸Šã’ã«åˆã‚ã›ã¦é–¢è¥¿æ–¹é¢ï¼
帰ã£ã¦ããŸã‚‰å¤šç£¨éœŠåœ’ã€å…«æŸ±éœŠåœ’ã«åˆã‚ã›ã¦é–¢æ±æ–¹é¢ã«è¡Œãã¾ã™ã€‚
施主ã•ã‚“ã®ã”了解ãŒé ‚ã‘れã°ã€ã¾ãŸã”紹介ã—ã¾ã™ãï¼
